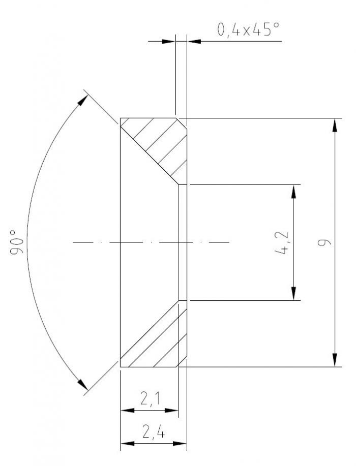
Ahoj všem, potřeboval bych vyrobit cca 40 podložek o rozměrech, které jsou na obrázku.
Na penězích bychom se dohodli, materiál (nerez) bych také splašil.
Kdyby se někomu chtělo, tak napište. Bude to hold sraní s takovými malinkými podložkami, ale bohužel nemám na výběr.
